Продолжая использовать наш сайт, вы даете согласие на обработку файлов cookie для хранения данных, которые обеспечивают правильную работу сайта.

Доступ в подъезд без ключа: встраиваем технологию распознавания лиц в домофоны

Возвращаясь с покупками домой, возникает проблема: как открыть дверь, когда руки заняты? А что, если дверь сама открывается, как только Вы к ней подходите? Это реально. Как сделать доступ в подъезд безопасным и комфортным?

Технологии позволяют расширить функции интеркома практически до бесконечности. И это уже не просто запирающее устройство:
  • он ведет круглосуточное видеонаблюдение за периметром входа;
  • фиксирует и записывает все лица, попавшие в объектив видеокамеры;
  • открывает двери не с помощью ключа, а по лицу;
  • приветствует и проговаривает объявления.

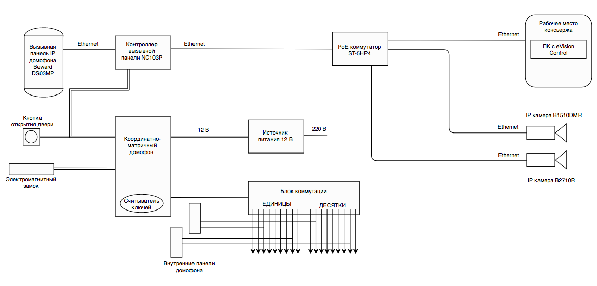
Решение для организации интеллектуальной системы видеонаблюдения eVision  имеет такие возможности. В связке с IP-домофоном Beward система предоставляет больше возможностей:
  • распознавать и идентифицировать лица в видеопотоке;
  • принимать решение о допуске пользователя в подъезд;
  • вести историю событий;
  • приветствовать пользователя;
  • проговаривать объявления.

Организуйте систему доступа с использованием биометрии и интегрируйте с уже существующими домофонными системами. Возьмем типичную многоэтажку с установленным десять лет назад координатно-матричным домофоном: IP домофон Beward устанавливается параллельно старому, жильцы подъезда записываются в базу пользователей eVision , при этом старое устройство функционирует также, и гости могут его использовать для связи с квартирой.



Больше никаких ключей, карточек, брелков. Возвращаясь домой с полными пакетами или коляской, домофон вас узнает, поприветствует, откроет дверь и проговорит вам объявление. Сделайте свою жизнь не только безопасной, но и комфортной. Узнайте больше об умном видеонаблюдении для дома из нашей статьи.

21.10.2018